通常所说的院校“录取线”是招生院校在某省(市、区)一个批次录取结束后,按文史、理工类所录取考生中,录取最低分的考生所形成的分数线(特殊情况除外)。 下面就是小编整理的2021北京高考分数线出炉_2021北京高考分数线公布,希望大家喜欢。

北京2021年高考分数线

北京2020年高考分数线

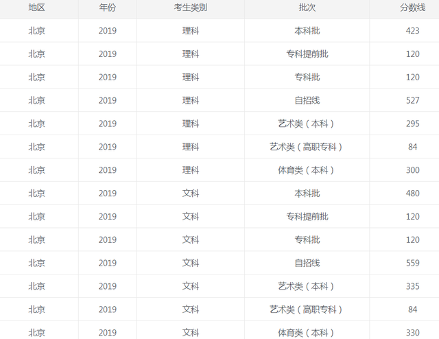
北京2019年高考分数线

高三学习方法(一)
高考状元的20条学习方法1、天天看高考梦想板的习惯(坚持21天,就变成习惯性想法)
2、每天早上激励自己的习惯(会用多种不同的自我暗示方法)
3、每天晚上睡前放松、暗示自我的习惯(让睡眠更充足)
4、每周制定小目标的习惯(善于分解小目标,多杈树层层分解法)
5、汇集错题的习题(高考状元的看家法宝)
6、汇集疑问的习惯(弄懂一个疑问,梳清一大块知识)
7、考后一百分的习惯(必须做到,考后暴露出的复习盲区最真实)
8、文理交叉左右交替用脑学习的习惯(高效的用脑方式)
9、课间积极放松的习惯(充沛脑力,放松神经)
10、每天坚持体育健脑锻炼的习惯(坚持下去,健体又健脑,一举多得)
11、每天积累回味学习快乐感的习惯(刺激大脑神经分泌脑啡肽)
12、每天保持成功自信积极心态的习惯(进入良性循环的高效率学习状态)
13、每天模仿高考状元信念模式的习惯(发挥95%的学习潜质)
14、每天定量做小题的习惯(小题大做,小题精做,积累题感)
15、记录解题及学习心得的习惯(一点心得,代表一点思维的智慧火花)
16、与同学交流的习惯(虚心请教,双赢探讨思考,付出一份,收获两份)
17、形成睡眠休息节律的习惯(熬夜伤神,熬夜的收获无法弥补白日的涣散损失)
18、每天静心30分钟的习惯(静心养神,安稳自我精神状态,放松一下绷紧的神经)
19、每周回顾检讨反省的习惯(经自己照镜子,发现前进途中的方向偏差)
20、每天制订小计划的习惯(小计划让你每天的学习井井有条)
高三学习方法(二)
1、从现在-第二年年2月
首先现在是暑假。 如果你们那里补课,那就一定要跟上老师的进度,因为从你进入高三到2月是第一轮复习,一定要把基础打牢。 这段时间多看课本,达到提到那个知识点就能熟练说出它在哪本书上,在书的左半页还是右半页······,在这段时间多做题多看课本,认真听讲,有热情就作错题笔记,对后来复习有帮助。 此时要注意你的弱项,比如我当时英语弱,我就从单词和阅读入手,在山东省要求3500个单词,那么这3500就应该毫不含糊,起码见到认识。 作文常用词要会写,然后多阅读,阅读理解是英语拉分的地方。
2、从2月-4月30日
进入二轮复习后,总的战略路线变成了拔高。 这时一轮的基础显得尤为重要。
二轮复习做题是少不了的.,这时更应注意总结,作一个题会一类体。 例如数学圆锥曲线方程求法,会一道题就要想下次遇到应该先干什么,这样可以提高做题速度。 要知道速度=分数。 此时要提高你的强项,达到在你发烧39摄氏度,前天晚上失眠的情况下该项成绩不会失常,这不仅对这一科有用,对你考试时信心有很大作用。
3、5月-6月
第三轮复习重在调整,一是知识点上的调整,要查缺补漏,之前如果有错题本就更好,这时拿出来看,防止你高考犯同样的错误。
二是心态调整,要对高考充满自信,哪怕盲目自信也要自信,必须从心里120%相信自己,不管之前学的如何,第三轮复习要求的是心态,高考要求的也是心态。 可以这么说,高考70%是考知识30%考心态。 假如600_30%=180。 600-180=420
我想你应该知道420与600的差距吧。 三轮复习70%已经无法改变,我们应该去改变30%,而30%就是你的自信心。
4、高考
考试的时候放稳心态,不急不躁,遇到难度保持冷静的思维,因为你难别人也难,这个时候拼的就是冷静沉着,只有这样才能给取得好成绩。
即将步入高三生活的理科生,希望以上的内容对怎样制定复习计划有帮助,需注意,复习计划要适合自身的实际,根据效果随时更改,以便达到最优的复习效率。
2021北京高考分数线出炉相关文章:
★★ 北京2021高考分数线与录取线公布
★★ 2021年北京高考分数线
★★ 2021年北京大学高考历年分数线大全
★★ 高考分数线2021年公布
★★ 2021北京体育大学分数线情况
★★ 2021年南开大学录取分数线最新公布
★★ 北京外国语大学录取分数线2021年最新
★★ 2021关于高考录取率省份排名
★★ 中国政法大学录取分数线2021最新
★★ 2021年安徽高考分数线公布
下一篇:返回列表





